2025年6月12日星期四

还是波音!印度航空今日空难是787首摔

愿各位起落安妥,出入平安

图片

据印度媒体报道,一架飞机12日在古杰拉特邦艾哈迈达巴德机场坠毁,机场上空冒起浓烟。

根据印度新德里电视台最新消息,印度民航局确认机上246人遇难,实在让人痛心。


Image


根据Flightradar24资料显示,失事飞机注册编号VT-ANB,机龄11.5年,这也是全球首架因空难而全损的波音787系列飞机。

图片

回想起9年前,第一次乘坐波音787系列飞机,就是印度航空的航班,当时那架飞机的编号是VT-ANU,比这家失事客机的引进时间稍晚。

图片
图片

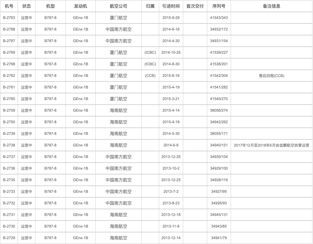
目前导致事故发生的原因尚不清晰,国内尚在运营B787-8的飞机一共有26架,分属南航、厦航以及海航,其中南航10架、厦航6架、海航10架。
按以往经验,民航局估计会对同型号的飞机进行全面安全排查,各位董事的行程如果涉及相关机型的,可以稍微关注一下了。
最后,愿各位起落安妥,出入平安。

没有评论:

发表评论

200元起步拿万豪白金2年及机场贵宾厅权益 实操攻略

本文介绍通过星巴克钻星(约200元非常规路径,需自估风险)获取飞猪F4,进而开启万豪白金8晚挑战(淡季每晚200-250元),成功后获得2年万豪白金权益(双早、酒廊、升房、延迟退房),并可通过长隆匹配机场通金卡(贵宾厅)。适合亲子、商务出行常旅客。注意窗口期可能随时结束,第三方服...